打造真正的無線健身聽戴式裝置 - 第 2 篇:音訊處理
資料提供者:DigiKey 北美編輯群
2020-01-14
編者說明:雖然健身聽戴式裝置擁有極大的潛力,但是在以下三個關鍵領域仍面臨重大的設計挑戰,即生物測量、音訊處理及無線充電。本系列共有三篇文章,將逐一探討這些挑戰,並向開發人員展示如何利用超低功率元件,更有效地打造健身聽戴式裝置。第 1 篇說明心率和 SpO2 的生物測量問題。本文為第 2 篇,將介紹音訊處理。第 3 篇將探討健身聽戴式裝置設計的無線充電和電源管理解決方案。
如第 1 篇所探討,耳道式智慧無線音訊耳塞,又稱為真正的無線聽戴式裝置,已成為相當受歡迎的音訊播放裝置,尤其是在電線可能干擾動作或設備的健身活動期間。開發人員在將健康指標測量功能新增到這些設計後,將能打造出既能播放音訊又能提供健康資料的「健身聽戴式裝置」。
雖然新增生物測量功能是一項令人振奮的進展,但設計人員不能忽略聽戴式裝置的核心功能:播放高品質音訊。現在的問題是如何在持續播放高品質音訊的同時,在如此小巧的外形中加入新功能,並達到令人滿意的電池續航力。
本文將探討音訊編解碼器和處理器的角色,並概述聽戴式裝置音訊系統架構的核心元素。之後會介紹 Maxim Integrated 的精密音訊編解碼器,並展示設計人員如何利用該產品在緊湊的外形中滿足使用者對高音質的期望,並達到更長的電池續航力。
音訊編解碼器和處理器
高效能音訊設計在多年來一直採用音訊編解碼器和專用音訊處理器。兩者均整合有完整的訊號鏈,可對音訊訊號進行取樣、轉換和調節。編解碼器 (因編碼器-解碼器而得名) 以往只能使用固線式韌體對音訊訊號進行編碼和解碼;而音訊處理器則一般是圍繞可編程數位訊號處理器 (DSP) 打造此功能。隨著具有固線式功能的可重編程編解碼器和音訊處理器的興起,這些產品類別的界線已變得愈來愈模糊。無論哪種情況,開發人員都可以找到功能強大的音訊訊號處理元件,能夠滿足最挑剔音樂發燒友的需求。
小型耳道式音訊耳機 (或耳塞) 的廣泛普及,進一步推動這些音訊訊號處理元件的發展,其目標是在晶片上提供完整的音訊子系統。這些元件與無線通訊及無線充電技術相結合,可為真正的無線耳塞奠定基礎,從而為使用者提供十分豐富的音質,並避免纜線帶來的困擾。
聽戴式裝置的演化
與較為傳統的有線耳塞不同,真正的無線耳塞大大增加了開發人員的挑戰。這些產品必須滿足聆聽者對音訊效能的需求,同時還要滿足行動使用者對便利性和可用性的期望。因此,設計不僅需要提供出色的音質和整體功能,而且需要提供最小的外形尺寸和最長的電池續航力。幸運的是,開發人員可以找到各種能滿足這一系列需求的音訊編解碼器和音訊處理器。
所謂的智慧型耳塞 (或稱聽戴式裝置),是真正的無線耳塞的自然演化。除了其他進階功能,聽戴式裝置還添加用於生物測量、動作偵測的感測器,以及其他可增進使用者健康及環境認知能力的功能。
雖然功能複雜,但健身聽戴式裝置的設計可建立在硬體平台上,此平台包含專為這些低功率應用而設計的現成系統單晶片 (SoC) 元件。如本系列第 1 篇所探討,Maxim Integrated 的 MAXM86161 生物感測器可提供這些產品所需要的所有生物測量功能。同樣地,Maxim Integrated 的 MAX98090 音訊編解碼器可提供完整的音訊子系統,能支援在新興健身聽戴式裝置中設計的各種音訊功能。透過使用這些元件,再加上藍牙 (BT) 無線射頻 (RF) 控制器和電源管理積體電路 (PMIC),開發人員可以實作精密健身聽戴式設計的硬體基礎 (圖 1)。
圖 1:健身聽戴式裝置延伸了真正無線音訊耳塞的能力,為其增添生物感測功能,但同樣也面臨著高音質播放和更長電池續航力的需求。(圖片來源:DigiKey,基於來自 Maxim Integrated 的原始資料)
綜合的音訊子系統
MAX98090 音訊編解碼器專為行動應用而設計,兼具超低功率效能和高度可配置音訊訊號處理能力。各種類比和數位輸入組合可用來饋入元件的核心,即 Maxim Integrated 的 FlexSound 數位訊號處理器 (DSP)。而元件可將 FlexSound 轉換的音訊,傳遞至針對不同類型音訊揚聲器進行最佳化的單獨輸出訊號路徑 (圖 2)。
圖 2:Maxim Integrated 的 MAX98090 音訊編解碼器專為耳道式穿戴式裝置設計,整合了一整套輸入、輸出及處理功能,可提供完整的音訊子系統,能夠滿足聽戴式裝置的功率和尺寸限制。(圖片來源:Maxim Integrated)
MAX98090 數位音訊介面 (DAI) 子系統支援以多種標準脈衝編碼調變 (PCM) 格式進行取樣,取樣率範圍從 8 kHz 音訊至 96 kHz 高解析度音訊。在典型的設計中,數位音訊輸入會直接從來源傳送至 DAI 子系統。對於類比來源,MAX98090 提供多聲道類比前端,其中包括輸入多工器、混頻器、前置放大器和可編程增益放大器 (PGA)。類比和數位輸入都會連接到單獨的左右聲道混頻器,而每個混頻器會饋入到專用的類比數位轉換器 (ADC) 中。ADC 的左右聲道輸出則會進入 DAI 子系統,其最終將數位音訊送至 FlexSound DSP 核心。
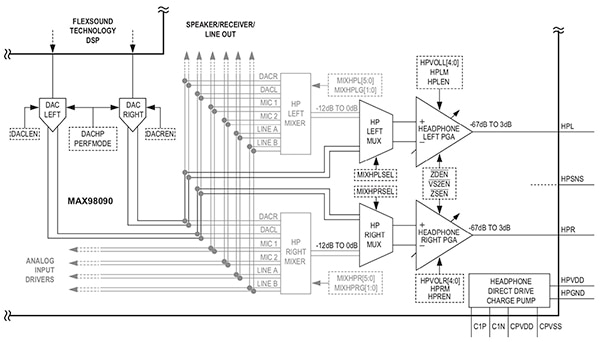
DSP 核心可提供音訊播放產品所需的基本訊號處理功能,但這些功能通常不受傳統音訊編解碼器的支援。使用者期望耳道式穿戴式裝置能夠提供足夠的音量,來克服嘈雜的環境 (例如健身房),同時仍能在各種音量下提供清晰的音訊訊號。MAX98090 FlexSound DSP 核心透過播放子系統來滿足這些要求,該系統由多級構成,包括單獨的七段參數均衡器、自動位準控制 (ALC),以及用於左右聲道的多個濾波器 (圖 3)。
圖 3:作為 Maxim Integrated 的 MAX98090 音訊編解碼器中樞,該公司的 FlexSound DSP 核心可提供專用的多級路徑來處理單獨的左聲道和右聲道。(圖片來源:Maxim Integrated)
這些功能提供高度靈活的音訊處理能力,能滿足每個應用的不同需求。例如,除了七段模式外,均衡器還支援三段或五段模式,這可能在使用者介面較簡單的產品中需要。同樣地,ALC 整合了可編程動態範圍控制 (DRC) 功能,不僅能防止高端發生音訊訊號削波,還可防止低端放大背景雜訊。對於數位音訊資料的整理,元件的數位濾波器組提供了用於音樂和高速率音訊的有限脈衝回應 (FIR) 濾波器,以及用於 8 kHz 或 16 kHz 語音應用的無限脈衝回應 (IIR) 濾波器。此外,在 FIR 音樂和 IIR 語音濾波器中可加入直流阻隔高通濾波器級,對低頻聲音進行衰減。
在 DSP 核心的輸出端,左右聲道的專用數位類比轉換器 (DAC),會將產生的類比訊號傳送至 MAX98090 的輸出混頻器。與輸入子系統一樣,MAX98090 整合了 D 類揚聲器輸出驅動器、H 類耳機輸出驅動器和可配置 AB 類驅動器,因而可支援多種類型的音訊輸出配置和揚聲器。對於每個輸出類型,開發人員只需設定關聯的暫存器,即可配置 MAX98090,將立體聲或單聲道輸出從左聲道或右聲道驅動至適合其各自設計的輸出驅動器。
增強型低功率聽戴式裝置
對於健身聽戴式裝置,開發人員通常會將 MAX98090 配置為使用 H 類耳機輸出來驅動微型揚聲器或新興的微機電系統 (MEMS) 揚聲器,例如專為耳道式應用開發的 Usound UT-P 2017。在健身聽戴式裝置中,數位音訊會經由藍牙連線直接流至 MAX98090 的數位音訊輸入子系統。因此對開發人員來說,將 MAX98090 配置為繞過耳機子系統的內建混頻器,可以達到省電效果,這是因為在基礎配置中並不需要類比和線路輸入選項 (圖 4)。
圖 4:對於音訊耳塞等播放裝置,Maxim Integrated 的 MAX98090 音訊編解碼器可在低功率配置下運作,將數位音訊直接流至裝置的整合式耳機輸出子系統。(圖片來源:Maxim Integrated)
在此配置中,MAX98090 只耗用大約 6 mW。若想進一步降低功耗,則可將 MAX98090 耳機輸出子系統配置為在特殊低功率模式下運作,將功耗降至 3.85 mW 左右。
耳道式穿戴式裝置的功率預算通常很有限。若想滿足此預算,開發人員還可有選擇性地在 MAX98090 中停用各個輸入和輸出區塊。在閒置期間,可透過編程方式將此元件置於關閉模式,此時僅會消耗幾微安的電量。在這種模式下,此元件的 I2C 序列介面會保持在主動狀態,可讓開發人員透過在元件的關閉暫存器中設定相關位元來載入新的配置,然後再重新啟動元件。此時,元件僅需 10 ms 即可返回全主動模式,為使用者提供幾乎即時啟動的體驗。
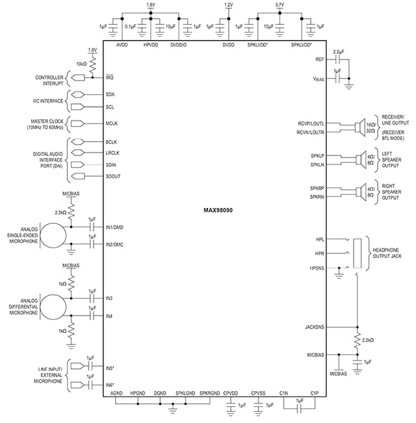
在設計健身聽戴式裝置系統時,開發人員可透過 I2C 序列介面,將 MAX98090 連接至支援藍牙的超低功率微控制器中,例如 ON Semiconductor 的 RSL10 (請參閱《快速部署通過藍牙 5 認證的電池供電型多感測器 IoT 裝置》)。MAX98090 整合了完整的輸入、處理和輸出區塊,因此只需再搭配幾個元件,便可完成整個系統整合 (圖 5)。
圖 5:開發人員只需再搭配幾個元件便可實作 Maxim Integrated 的 MAX98090 音訊編解碼器硬體介面設計。(圖片來源:Maxim Integrated)
只需稍作改動,上述的基本播放設計便可進一步增強以支援額外的功能,例如將音訊輸入用於藍牙連接的語音助理介面或手機對話。為了接收使用者的聲音,這種設計可能會使用低功率的駐極體麥克風,例如 Knowles 的 FG 系列 50 μA 麥克風;或是 MEMS 類比麥克風,例如 TDK InvenSense 的 25 μA ICS-40310 或 Vper Technologies 的 5 μA VM1010。
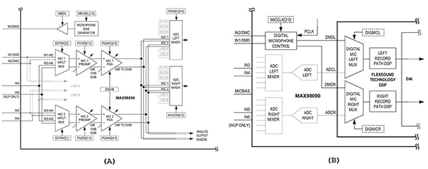
透過幾個額外的暫存器設定,開發人員可將 MAX98090 配置為在必要時從這些類比麥克風或數位麥克風接受聲音輸入。獨立的類比和數位麥克風輸入級為類比訊號調整或數位控制提供必要的前端級 (圖 6)。
圖 6:Maxim Integrated 的 MAX98090 音訊編解碼器提供全套的類比前端 (A) 和數位介面 (B),可分別連接類比麥克風和數位麥克風。(圖片來源:Maxim Integrated)
在輸入級之後,數位化的資料流會進入 FlexSound DSP 核心的獨立記錄子系統,然後是先前所述的 DSP 播放子系統。與播放功能一樣,記錄功能提供了多個序列處理級。在本例中,處理元素由一組數位濾波器構成,包括 IIR 語音濾波器、FIR 音樂濾波器以及直流阻隔濾波器 (圖 7)。
圖 7:除了支援類比和數位輸入,Maxim Integrated 的 MAX98090 音訊編解碼器還在該公司的 FlexSound DSP 核心中提供多級記錄路徑。(圖片來源:Maxim Integrated)
隨後,DSP 播放系統會整合這個記錄的側音與主數位音訊音樂流,並經進一步處理後傳送至 MAX98090 輸出子系統。
結論
真正的無線健身聽戴式裝置不僅需要提供廣泛的功能來滿足使用者對最新功能的期望,同時還要在嚴格的功率和尺寸限制下工作。對於音訊播放,Maxim Integrated 的 MAX98090 音訊編解碼器將類比/數位輸入及輸出子系統,與精密的音訊數位訊號處理器整合在一起,以提供健身聽戴式裝置設計中所需的各種音訊功能。如本文所述,搭配使用 MAX98090 和經過類似最佳化的 SoC 元件,開發人員可以為精密的健身聽戴式裝置建立靈活的硬體基礎。
聲明:各作者及/或論壇參與者於本網站所發表之意見、理念和觀點,概不反映 DigiKey 的意見、理念和觀點,亦非 DigiKey 的正式原則。




