設計攻略:為你揭開紅外線溫度感測器設計選型的神秘面紗
紅外線溫度感測不用接觸到物體便可進行溫度測量,因此被廣泛應用於醫療、工業等領域。紅外線溫度感測具體該如何設計和選型?希望讀完本文,能給大家一些啟發。
紅外線溫度感測器設計很難嗎?
其實可以很簡單。對於一些數位輸出紅外線溫度感測器,很多非接觸式紅外線溫度感測器廠家,出廠前都已經幫你校準好了精度。我們只要找一顆MCU透過I2C讀取RAM裡的資訊就可以了。有些晶片還會給出調用紅外線溫度感測器的範例程式。比如Melexis MLX90632,在Git-Hub提供了MCU STM32F070的範例程式,這進一步簡化了軟體設計的難度。進而我們可以把更多的精力放到如何減少不必要的雜訊,以及提高測量精度方面的工作。
DigiKey提供廣泛的DigiKey紅外線溫度感測器選擇範圍。
紅外線溫度感測器選型要點
選好紅外線溫度感測器是設計成功的第一步。
- 距離係數
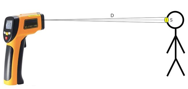
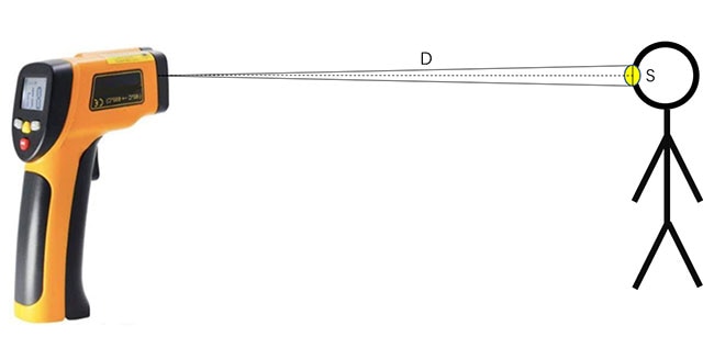
紅外線溫度感測器的測溫距離多遠?如果僅是這麼問,還不夠準確,可以把紅外線溫感測器想像成一雙眼睛,如果物體很大,即使很遠,我們也能看見。所以更準確的衡量標準是“距離係數(D:S)”,即感測器到目標的距離D與在該距離下測溫儀測量區域直徑S的比值。

一般來說,紅外線溫度感測器測試到的是測試範圍內的溫度平均值。因此,為了保證測量效果,儘量使測試目標大於測試範圍。

- 如何計算距離係數
一般溫度感測器都會給出視場角度(FOV,field of view)這個參數,即紅外線感測器能“看”到的範圍。以Melexis MLX90632SLD-DCB-000-RE為例子,以訊號敏感度50%時做為測量標準,FOV為50°,即可推算出距離係數比值。D : S =1 : 2tan25

DigiKey網站提供詳細紅外線溫度感測器的參數可供篩選。在DigiKey溫度感測器這個大類下面,感測器類型選擇“數位,紅外線(IR)”,“類比,紅外線(IR)”,即可得到相應結果。

篩選過程中還有幾個比較重要的參數,如“感測溫度 - 遠端”、“電源-電壓”、“解析度”、“輸出類型”、“準確度”等。其中,“準確度”這個參數要特別注意,推薦仔細閱讀產品資料手冊。有些紅外線溫度感測器,會對某些特殊應用中的特殊溫度段做調整。
比如,Melexis Technologies NV的MLX90632SLD-DCB-000-RE,準確度±0.2℃,這個是針對醫療領域,體溫這個溫度段所做的調整。

設計技巧
保證紅外線溫度感測器元件周邊溫度穩定與相應的溫度補償,往往是設計的重中之重。紅外線溫度感測器內部結構一般都是大量的熱電偶堆疊在底層的矽基上,而熱電偶冷端的溫度變化直接影響測試精度。因此,儘量讓紅外線溫度感測器遠離熱源,比如發熱的電源晶片,以保證紅外線溫度感測器周邊的溫度穩定。
- 熱雜訊
我們常常可以看見直插型的紅外線溫度感測器都會有一個金屬外殼,這個外殼的主要作用便是為了減少熱雜訊。沒有這個外殼的話,空氣的流動帶來的熱雜訊,可能就會影響精度。因此,對於某些特殊應用,設計建議如下:
- 在金屬外殼外面再套一個金屬外殼來減少熱雜訊。
- 空氣是很好的隔熱材料,在金屬外殼和塑膠蓋之間留一定的間隙。
- 儘量杜絕PCB板上的熱傳導,比如在晶片周圍去除不必要的PCB板材來減少熱傳導路徑。
(以上圖片與建議來源於Melexis紅外線溫度感測器熱源與機械設計)
- 熱梯度與熱源方向
有些紅外線溫度感測器會做溫度補償功能,來達到降噪的目的。如Melexis MLX90614 會對熱梯度做出補償,這時就要特別留意熱源的方向,以及紅外線溫度感測器的放置方向。根據應用手冊的要求設計,才能正確地發揮溫度補償的功能。
(以上圖片與建議來源於Melexis紅外線溫度感測器熱源與機械設計)
本文小結
做為測溫槍中的核心部件,選好紅外線溫度感測器是設計成功的第一步。深入瞭解紅外線感測器,並圍繞其進行設計,才能事半功倍。
更多有關紅外線感測器的技術資訊,請參閱:
Have questions or comments? Continue the conversation on TechForum, Digi-Key's online community and technical resource.
Visit TechForum

